隨著對外開放改革的不斷深入,不少企事業單位通過各種渠道引進了一些外國設備。 當然,大多數設備是好的,先進的, 但也有一些設備不盡如人意。比如: 某企業進口美國的一臺電子拉力試驗機 ,到貨三四年仍不能投入使用。一是由于進口渠道復雜, 技術資料不全等原因造成無人安裝調試 ; 二是由于訂貨人員對該設備的性能指標了解不夠造成相關配套單元不齊 ,無法滿足企業的使用要求。為此, 要使這臺價值幾萬美元的進口設備投入正常使用。必須對該設備進行安裝, 調試和相應的改造。
原設備只有一臺1000磅力的負荷傳感器和測量系統, 現要改造成為:保留原系統的同時, 增加兩臺50N和30N的負荷傳感器,并且對測量系統要做相應的改造。本文著重談一談測量系統的設計與改造。對這種只有使用說明書, 無線路圖等技術資料的進口設備,若要實施修理和改造, 對該機械傳動單元, 測量單元、速控單元全面了解的基礎上進行重點研究和分析。
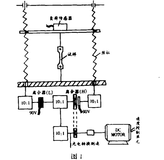
該試驗機的結構原理如圖1所示。

圖1:試驗機結構原理
它主要包括, 主體框架, 移動橫梁 (十字頭)和固定橫梁等??梢苿訖M梁是通過反齒隙游移螺母由雙螺旋絲杠驅動實現上下移動, 從而完成對試樣的加荷試驗。
目前, 先進的材料試驗機測力系統均由應變片式負荷傳感器及集成電路側量系統組成。類比國內外幾種不同型號產品的應變 片式負荷傳感器測力系統,如:國產。CSS一163型,500N小負荷電子拉力試驗機,DL-100B、DL-1000B電子拉力試驗機, 進口
INSTRON1196和INSTRON1122型萬能材料試驗機,以及美國M丁S 材料試驗機等測力系統,并結合該試驗機的實物及其功能, 分析繪出改造方案圖如圖2所示:

圖2:試驗機改造方案
作拉力試驗或其它試驗時, 由于負荷傳感器與試樣在同一軸線上, 試樣所受的力與負荷傳感器受力相同。這樣,使貼在傳感器彈性體上的電阻應變片所組成的電橋失去平衡。電橋則產生一個小電壓信號輸出。該電壓在一定范圍內與作用力的大小呈線 性正比例。負荷傳感器輸出的小信號經過交流放大以后, 由解調器和低通濾波器輸出0一±10V的直流電壓信號, 分別給數顯和X一Y記錄儀或者接計算機數據采集輸入端。實現各種材料的力學性能試驗。
從電子拉力試驗機的測力原理可知, 將該試驗機改造成為多傳感器, 多量程的, 方便切換的試驗機, 首先要更換高精度負荷傳 感器, 如50N, 靈敏度 :-2.00556MV/V, 非直線度0.013%F.S, 不重復度為:0.012%F.S的負荷傳感器, 必須對測量系統做相應 的改造。為此,將A2放大器改造成為如圖3所示“ 滿負荷刻度量程選擇器”, 解決測量系統與負荷傳感器的匹配問題。

圖3:滿負荷刻度量程選擇器
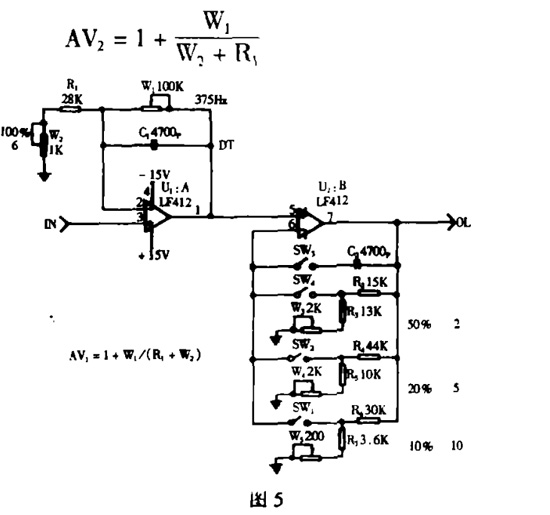
依據該試驗機A2放大器的實物,在查閱了大量有關資料后, 分析得出:A2放大器由兩部分組成, 第一級是帶有濾波器的增益可調節的同相集成運算放大器(見圖5)。據實際元件標稱值可以推算出:濾波器的揩振調整范圍是 :f=338.8HZ-∞。由于測量系統的工作頻率為:375HZ,那么, 當f=375HZ時,可計算出:可調電位器固定值應為:W1=90.35KΩ。
計算過程如下:
可調電位器固定值計算過程
如圖4及圖5所示,由W=90.53KΩ,可以計算出第一級放大器的閉環增益AV1。
第一級放大器的閉環增益AV1計算過程
第二級放大器是,當量程轉換開關在50%、20%和10%時, 由同一放大器構成的可調增益的同相放大器。其各衰減擋的電壓增益分別計算如下 :
第二級放大器各衰減擋的電壓增益計算過程
根據上述計算結果,我們設計出了當采用50N負荷傳感器時的“ 滿刻度量程選擇器”電路(如圖5所示 )。
由于50N負荷 感器的靈敏度高于原1000磅力的傳感 器。據公式:

圖5:滿刻度量程選擇器電路
在實際調校過程中, 可以采取增加W2或R1和減小W1來實現AV1的減小。當然就實現了“ 滿刻度量程選擇器”與負荷傳感器的匹配。
根據以上思路設計制作的與50N和30N負荷傳感器相匹配的“ 滿刻度量程選擇器”。按照電子式萬能試驗機JJG475-86國家檢定規程由專業計量員對未改造和已改造好的測力系統進行了調試和校正,其結果符 合要求。并經過半年的使 用,復校合格。實踐證明: 只要我們勤于思考, 勇于實踐, 進口材料試驗機的改造并不是高不可攀的。